時間:2018-07-20 03:10:00  來源: 創今世紀  作者: 創今世紀
近些年來國內很多城市的霧霾十分嚴重(例如北京),而霧霾的形成很大程度上是基于燃煤污染造成的。所以國家2018年繼續加強推進煤改清潔能源政策,那么煤改清潔能源這里的“清潔能源”都指的是什么呢?目前,分為煤改電,煤改氣。那么農村村莊進行煤改清潔能源有哪些政策紅利呢?
農村煤改清潔能源的政策紅利有哪些?2018年!延慶將有46個村,12000戶享受“煤改清潔能源”政策紅利,其中28個村“煤改氣”、11個村“煤改電”、7個村搬遷上樓。所有補貼手續都不用自己跑,坐享政策紅利就好啦。
煤改電的相關政策紅利
取暖設備:市級財政每平米補貼100元,區級財政按中標型號據實補貼,每戶最高享受補貼2.4萬元!!
電價:每年11月1日至次年3月31日,晚八點至次日早八點0.1元/度,超過1萬度0.3元/度。
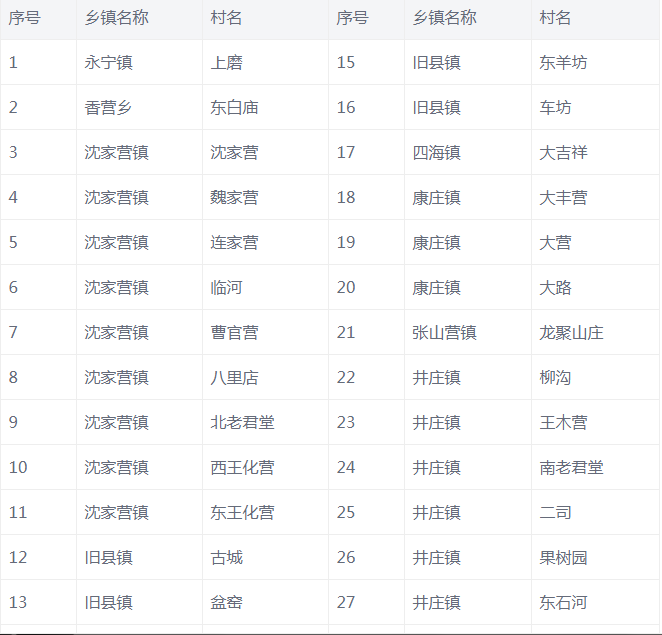
“煤改電”計劃改造村莊

注:以上為計劃改造村莊名單,最終改造村莊以實際改造為準。
煤改氣的相關政策紅利
戶內管線:按每戶不超過3000元據實核算,由區級財政承擔。
燃氣取暖設備:用戶承擔2200元。
氣價:補貼后,年用氣量0-2500(含)立方米為2.28元/立方米,年用氣量2500-3000(含)立方米為2.5元/立方米,年用氣量3000立方米以上為3.9元/立方米。
“煤改氣”計劃改造村莊

注:以上為計劃改造村莊名單,最終改造村莊以實際改造為準。
農村村莊煤改清潔能源政策紅利的信息小編都告訴大家了,希望可以幫到想了解煤改清潔能源政策紅利的朋友。
創今智慧能源平臺為熱泵系統的“骨骼肌肉”加裝數智化的“大腦”,實現能源全系統智能優化,持續釋放數據價值,讓能源“變現”大有可為。

